当前位置: >首页 >资讯中心 >自然资源部动态
自然资源部办公厅关于印发《新一代地理信息公共服务平台(天地图)建设总体实施方案》的通知
发布时间:2024-03-12     来源:自然资源部     浏览:1729次



各省、自治区、直辖市自然资源主管部门,新疆生产建设兵团自然资源局,部有关直属单位,陕西、黑龙江、四川、海南测绘地理信息局,部机关有关司局

为贯彻落实《自然资源部关于加快测绘地理信息事业转型升级 更好支撑高质量发展的意见》(自然资发〔2023〕158号)部署要求,加快推进新一代地理信息公共服务平台(以下简称新平台)建设,在前期试点工作基础上,我部组织编制了《新一代地理信息公共服务平台(天地图)建设总体实施方案》,现印发给你们,并就有关事项通知如下:

一、提高思想认识

地理信息公共服务平台(天地图)是县级以上自然资源主管部门向社会提供各类在线地理信息公共服务、推动地理信息数据开放共享的政府网站,具有基础性、公益性、权威性的特点,在服务自然资源管理和经济社会发展方面发挥着重要作用。各地要认真履行《中华人民共和国测绘法》第四十条“通过地理信息公共服务平台向社会提供地理信息公共服务,实现地理信息数据开放共享”的职责,坚持“两支撑、两服务”工作定位,立足已有工作基础,上下联动,加快建设新平台,推动天地图由单一地理信息服务向综合地理信息服务转型升级,不断提升在线地理信息公共服务水平,更好服务数字中国建设,全面赋能高质量发展。

二、明确任务分工

在《地理信息公共服务平台管理办法》明确的相关分工基础上,结合新平台建设要求,扩大参与单位,进一步细化任务分解。自然资源部地理信息管理司负责新平台建设统筹协调、督促指导、综合评估等,及时推广可复制、可借鉴的典型做法。省级自然资源主管部门(其中陕西、黑龙江、四川、海南省特指测绘地理信息局)统筹本地区省级、市县级节点建设,承担统建共用云计算资源建设。国家基础地理信息中心负责新平台技术设计、关键技术攻关、标准规范研制等,承担统建共用云计算资源集成、核心支撑软件系统和网络安全防护体系建设。国家海洋信息中心指导省级节点开展海洋地理信息资源整合,承担国家级节点海洋地理信息资源建设。部信息中心负责国家级自然资源领域专题地理信息资源的整合,通过国家级节点实现自然资源专题地理信息的集中发布。部地图技术审查中心承担国家级节点标准地图服务相关工作。

三、强化支撑保障

各地各单位要高度重视新平台建设工作,研究制定配套措施和具体落实方案,认真落实有关数据安全保密规定,加大经费保障力度,所需经费按规定纳入财政预算。积极拓宽资金渠道,统筹运用各类资金,提高资金使用效率,加大技术升级、数据更新、系统建设、应用拓展、日常运维等经费保障力度。加强人才培养,建立适应新平台建设与应用的高水平人才队伍。鼓励联合高等院校、科研机构、企事业单位等开展技术攻关,鼓励企业参与新平台建设和增值开发,积极探索建立商业化合作机制。坚持边建边用,关注社会反响,注重宣传推广,不断提升知晓度,引导用户规范使用新平台。

请各省级自然资源主管部门及时反馈工作推进中遇到的困难、问题和建议。

联 系 人:地理信息管理司应用处 王茜

联系方式:010-66558746


自然资源部办公厅

2024年2月27日

附件↓







主管部门:
自然资源部
民政部
中国科协
京ICP备14037318号-1 京公网安备 11010802031220号
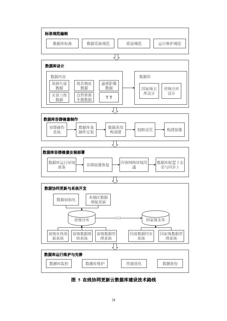
主办:中国测绘学会    技术支持 :江苏润溪时空智能科技股份有限公司
联系电话:010-63881345      邮箱地址:zgchxh1401@163.com
联系地址:北京市海淀区莲花池西路28号西裙楼四层